2BEA 2BEC series water ring vacuum pump (hereinafter referred to as pump) is used to suck air or other non-corrosive, water-insoluble, and solid particle-free gases to form a certain vacuum in the closed container. A trace amount of liquid is allowed to be mixed in the sucked gas. The recommended working range of the pump is 400hpa-900hpa.
This type of vacuum pump is mainly used in chemical, petrochemical, light industry, pharmaceutical, papermaking, metallurgy, building materials, electrical appliances, food, coal washing, mineral processing, fertilizer and other industries.
When equipped with an explosion-proof motor, it can suck flammable and explosive gases. When the pump body material is corrosion-resistant material, it can suck gases with certain corrosiveness.
Features
*High reliability
Due to the strong heat-insertion interference fit between the shaft and the impeller hole and the large safety factor of the bearing, this type of pump has a very high reliability. The impeller is welded, and the hub and blades are all processed, which fundamentally solves the dynamic balance problem, and the operation is balanced and low noise.
*Easy maintenance
Due to the inspection holes set on the two end covers of the pump (just remove the pressure plate), the internal structure or gap can be easily checked, and the exhaust port valve plate can be quickly and conveniently replaced. In addition, the replacement of the packing can also be carried out without removing the pump cover, which is very convenient.
*High efficiency and energy saving
This series of water ring pumps adopts a system optimization design. The main components such as the distribution plate and the impeller have a reasonable design structure and high efficiency. In addition, this type of water ring pump adopts a flexible exhaust valve design to avoid over-compression during gas compression, and reduce energy consumption by automatically adjusting the exhaust area. So as to achieve the best operating efficiency.
*Adapt to impact loads
The blades are formed by one-time stamping of steel plates, and the profile is good. The welded impeller is heat treated as a whole, and the blades have good toughness, and their impact resistance and bending resistance are fundamentally guaranteed to adapt to impact loads.
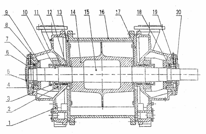
Structural diagram

1. Pump cover 2. Machine seal 3. Machine seal cover 4. Bearing shell 5. Rear bearing cover 6. Rear round nut 7. Cylindrical roller bearing with flange 8. Oil cup
9. Bearing cover 10. Shaft sleeve 11. Packing spacer 12. Packing 13. Rear distribution plate 14. Impeller 15. Shaft 16. Pump body 17. Front distribution plate
18. Cylindrical roller bearing 19. Front round nut 20. Front bearing cover
Performance parameters
Model | Ultimate pressure hPa | Drive type | Maximum gas volume m3/min | Speed r/min | Maximum shaft power kw | Motor power kw | Inlet/outlet diam. mm |
2BEA-103-0 | 33 | Belt | 5 | 1300 | 7 | 7.5 | 65 |
6 | 1450 | 8 | 11 | ||||
6.5 | 1625 | 10 | 11 | ||||
7 | 1750 | 11 | 15 | ||||
2BEA-153-0 | 33 | Belt | 7.5 | 1300 | 11 | 15 | 100 |
9 | 1450 | 14 | 15 | ||||
11 | 1625 | 16 | 18.5 | ||||
12 | 1750 | 19 | 22 | ||||
2BEA-202-0 | 33 | Belt | 11 | 880 | 16 | 18.5 | 125 |
12 | 980 | 19 | 22 | ||||
14 | 1100 | 22 | 30 | ||||
15 | 1170 | 25 | 30 | ||||
2BEA-203-0 | 33 | Belt | 16 | 880 | 25 | 30 | 125 |
19 | 980 | 30 | 37 | ||||
21 | 1100 | 36 | 45 | ||||
22 | 1170 | 40 | 45 | ||||
2BEA-252-0 | 33 | Belt | 25 | 666 | 32 | 37 | 150 |
27 | 740 | 38 | 45 | ||||
31 | 820 | 46 | 55 | ||||
33 | 880 | 53 | 75 | ||||
2BEA-253-0 | 33 | Belt | 30 | 590 | 37 | 45 | 150 |
35 | 660 | 45 | 55 | ||||
40 | 740 | 55 | 75 | ||||
44 | 820 | 65 | 90 | ||||
2BEA-303-0 | 33 | Belt | 43 | 472 | 46 | 55 | 200 |
47 | 530 | 58 | 75 | ||||
52 | 590 | 67 | 75 | ||||
60 | 660 | 80 | 90 | ||||
64 | 740 | 90 | 110 | ||||
2BEA-353-0 | 33 | Belt | 68 | 490 | 91 | 110 | 250 |
75 | 530 | 105 | 132 | ||||
85 | 590 | 126 | 160 | ||||
95 | 660 | 154 | 185 | ||||
2BEA-355-0 | 160 | Belt | 79 | 472 | 92 | 110 | 250 |
84 | 500 | 105 | 132 | ||||
88 | 530 | 113 | 132 | ||||
96 | 590 | 136 | 160 |
